返回
顶部
我们已发送验证链接到您的邮箱,请查收并验证
没收到验证邮件?请确认邮箱是否正确或 重新发送邮件
确定

6000万索赔反转为专利保卫战,科瑞思专利被终审判定无效

诉讼
纳暮2025-10-20
6000万索赔反转为专利保卫战,科瑞思专利被终审判定无效

#本文仅代表作者观点,不代表IPRdaily立场#


“最高院维持涉案专利全部无效,本判决为终审判决。”


10月10日,珠海科瑞思科技股份有限公司(以下简称“科瑞思”)发布公告披露诉讼进展,其全资子公司珠海市恒诺科技有限公司(以下简称“珠海恒诺”)提起的专利无效行政纠纷上诉被最高人民法院驳回。


Part.1
从“索赔6000万元”到“专利全部无效”


2023年6月29日,珠海恒诺同时向广州知识产权法院提交了两份诉状,指控中山展晖电子设备有限公司(以下简称“展晖电子”)及广东美信科技股份有限公司(以下简称“美信科技”)侵犯其发明专利,案号分别为(2023)粤73知民初1432号、1433号,索赔共计6000万元。


据显示,涉案专利分别为“一种网络变压器全自动制造方法”(专利号:201510185094.9),“一种网络变压器的T2环全自动绕线方法”、(专利号:201510185950.0)。

随后,展晖电子委托北京市中伦律师事务所针对两项涉案专利向国家知识产权局提起无效宣告请求。2024年,国家知识产权局陆续认定两项涉案专利不具备创造性,宣告专利权全部无效。


5.1


5.2


珠海恒诺的专利侵权维权诉讼,随即转变为对自身核心专利有效性的 “保卫战”。


珠海恒诺对以上无效决定不予认同,向北京知识产权法院提起行政诉讼,同时向广州知识产权法院撤回了起诉。2025年3月,北京知识产权法院一审维持国家知识产权局所作出的无效决定。

珠海恒诺继续向最高人民法院提起了上诉。近日,最高人民法院作出终审裁定,依旧维持北京知识产权法院的判决,驳回珠海恒诺的上诉请求。


Part.2
关联诉讼未披露:科瑞思称不影响核心竞争力


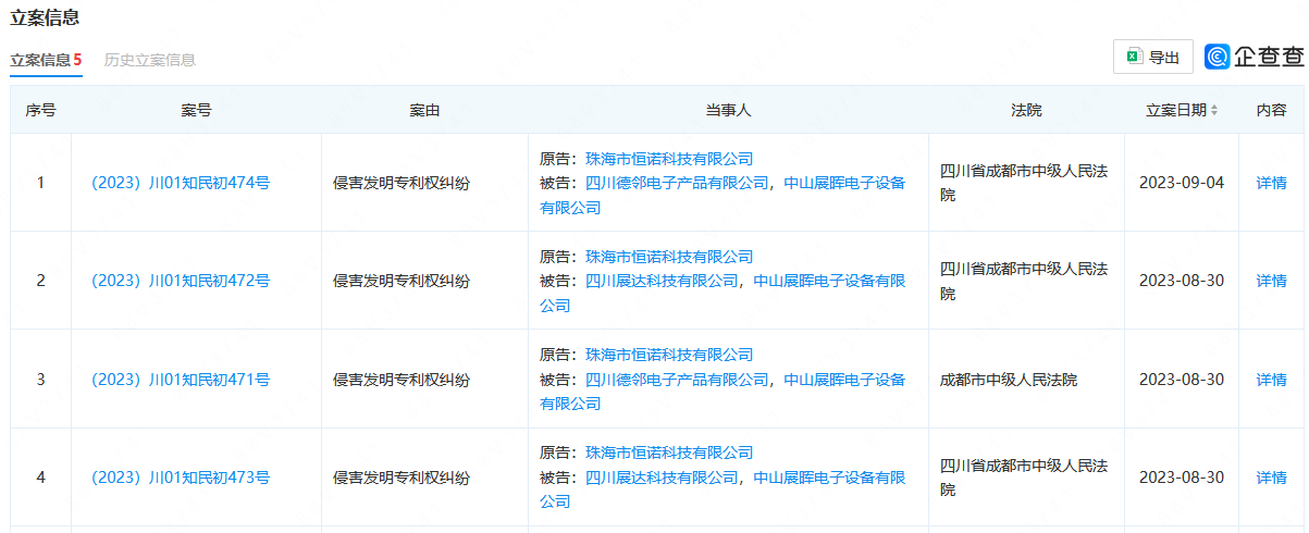
除广州两案外,企查查显示,珠海恒诺2023年还曾在四川省成都市中级人民法院提起四起专利侵权诉讼,被告包括展晖电子及四川德邻电子产品有限公司/四川展达科技有限公司。


5.3


上述四起案件的涉案专利细节及诉讼请求等信息,尚未有公开披露,是否受到专利无效决定影响也未可知。母公司科瑞思在公告中表示,无效决定不影响公司利润和核心竞争力,不影响继续合法、无偿使用相关技术方案。

据悉,科瑞思是一家以全自动绕线设备制造和小型磁环绕线产品生产服务为核心的国家级专精特新“小巨人”企业,在行业内首创了全自动网络变压器双环绕线机和全自动蝴蝶式绕法电感绕线机。截至2025年6月30日,科瑞思拥有发明专利51项,实用新型专利197项,软件著作权43项。

对于手握百余项专利的科瑞思而言,如何提升核心专利的撰写质量与稳定性,将成为其下一轮知识产权攻防的关键。


附:公告


5.45.5

(原标题:6000万索赔反转为专利保卫战,科瑞思专利被终审判定无效)


栏目支持,共建合作伙伴持续招募


来源:知联社

作者:耿更

编辑:IPRdaily辛夷          校对:IPRdaily纵横君


注:原文链接6000万索赔反转为专利保卫战,科瑞思专利被终审判定无效(点击标题查看原文)


今日报名截止!寻找2024年“40位40岁以下企业知识产权精英”活动

「关于IPRdaily」


IPRdaily是全球领先的知识产权综合信息服务提供商,致力于连接全球知识产权与科技创新人才。汇聚了来自于中国、美国、欧洲、俄罗斯、以色列、澳大利亚、新加坡、日本、韩国等15个国家和地区的高科技公司及成长型科技企业的管理者及科技研发或知识产权负责人,还有来自政府、律师及代理事务所、研发或服务机构的全球近100万用户(国内70余万+海外近30万),2019年全年全网页面浏览量已经突破过亿次传播。


(英文官网:iprdaily.com  中文官网:iprdaily.cn) 


本文来知联社并经IPRdaily.cn中文网编辑。转载此文章须经权利人同意,并附上出处与作者信息。文章不代表IPRdaily.cn立场,如若转载,请注明出处:“http://www.iprdaily.cn”

本文来自于iprdaily,永久保存地址为/news_40850.html,发布时间为2025-10-20 11:22:29
我也说两句
还可以输入140个字
我要评论
相关文章