
#本文由作者授权发布,文章仅代表作者观点,不代表IPRdaily立场#
来源:IPRdaily中文网(IPRdaily.cn)
作者:宿渊源  审协北京中心电学部  IP创新赢
          杨   超  审协北京中心外观部  IP创新赢
原标题:这款吹风机能吹出让人心荡的风【IP创新赢】
吹啊吹啊,我的骄傲放纵,小编常常幻想自己的一头秀发随春风飘逸的样子,那种感觉一定是荡~荡~荡~;但现实往往是头发毛躁的连亲妈都嫌弃。为了秀发美丽,小编研究各种洗发水、护发精油,效果往往没有失望大,小编有一天顿悟:是否是吹风机的问题?有没有这样一款吹风机能吹出让人心荡的风……
还记得一年前小编的原创文章《专利解读黑科技:无叶风扇空穴来风》吗?当时小编就曾经在文章中预言:与无叶风扇同样的原理,戴森下一步就会推出吹风机,吸尘器,甚至抽油烟机。
不出所料,在文章发出后不久,戴森先后推出了吹风机和吸尘器,继续一年前我们的话题,先来聊聊戴森吹风机。

发明家戴森先生本人与戴森吹风机
因为它的形状,很多网友都亲切的叫它小槌子。因为小编懂它的原理,所以小编断言这把小槌子绝不是一个靠颜值撑起的样子货。更何况,号称是在风扇的技术积累的基础上又花了5年时间,5800万英镑投资,103位工程师参与的黑科技吹风机。
果然,在产品发布后,微博上的各种溢美之词纷至沓来:
“吹风机中的爱马仕”
“99%的女人不会拒绝的礼物”
“重新定义吹风机”
…………
相信半年来这款小槌子已经在很多女性的愿望清单中上位了吧?
那就让小编带你分析一下这款吹风机除了颜值特殊外,是否功能也强大?
普通吹风机的原理非常简单:直接靠电动马达驱动转子带动风叶旋转,当风叶旋转时,空气从吹风机尾部的小孔孔吸入,形成的离心气流再由风筒前嘴吹出。空气通过时,若装在风嘴中的发热支架上的发热丝已通电变热,则吹出的是热风;若选择开关不使发热丝通电发热,则吹出的是冷风。因为电动马达整个位于风筒中,因此大多数的传统吹风机用起来都有种头重脚轻的感觉。

普通吹风机原理图
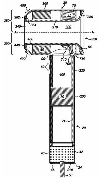
下面,咱们再来通过专利CN104273918A(中国发明专利申请公开号,下图)揭秘下小槌子的设计:利用了新原理设计的马达和风扇70全部位于手柄,这样吹风机整体就平衡了,不再头重脚轻,妹子们拿起来也更顺手,再也不会头发没吹干手就先酸了。

戴森吹风机的结构
很多人会怀疑这样风力够强劲吗?还记得小编曾经分析过的空气倍增技术吗?(不记得了请参见无叶风扇一文),由于利用了柯恩达表面效应,即利用了流体或气体的附壁作用,即流体或气体具有离开本来流动方向,改为随着凸出的物体表面流动的倾向。参考上图,除了吸风口40吸入的空气产生环形风流外,还从另一入口320被吸入,另外,由于外壁360靠近出风口一端是向中线倾斜的,从440排出的流体使得整个吹风机外侧的流体490也被卷进去。这三股风流齐心协力,达到了传统风速3倍以上的效果。

戴森特有的气流倍增技术
再搭配上戴森的高速马达,难怪很多妹子都说头发很快就可以被吹干呢。

当然除了戴森吹风机的内部结构,最引人瞩目的是外观设计也申请了专利保护(中国外观设计专利号:ZL201430047146.2)独特的“槌子”形设计,颠覆了吹风机领域内常见的“7”字形。风筒和手柄为垂直相贯的两个圆柱体,造型圆润,底部设置有过滤器,整体造型简洁大方,科技感较强。此时,每每看到这样的产品,小编总是想起那句熟悉广告词:简约而不简单。

(ZL201430047146.2)
再来感受一下实物:

空桶式的设计除了延续了戴森的产品特点,让消费者觉得神奇外,还具有平衡配重改变重力支点,手握使用更轻松的功效;最重要的是不会有头发被卷进去的危险。
吹风机出风口的位置设置了一个玻璃珠热感测器,实时检测温度,恒温保证,即使吹得快也不伤头发。
除了上面提到的吹风机结构和外观的专利意外,戴森在吹风机的材料、隔热、配件等其他方面也申请了多个相关专利,每一个细节的打磨才成就了一款成功的产品。
写到这里,小编已经想马上把家里的吹风机扔了,并在闺蜜群里极力宣传,幻想自己长发及腰也不担心洗头。

不过,一个闺蜜跳出来提醒小编。根据她的亲测,尽管这款吹风机有风量大,无烫头皮的感觉,吹风效果好,使用后头发柔顺、不毛躁等优点,但是也还是有缺点的。
(1)价格不美好,很多购物网站上3000+的价格,让人有点望而却步。
(2)一体式设计,不可以折叠,携带不方便
闺蜜建议:从性价比和功能性方面,可以再考虑一下松下纳米水离子吹风机,据说吹出来头发十分光泽、再也不炸毛了呢。好奇心又被勾起来了,那顺便也看一下松下的黑科技吹风机吧,原来是圆圆女神代言的,整个外观设计都透露出一股女神范儿呢!

其实小编现在使用的就是松下的负离子吹风机,相信很多妹子也用过,头发确实比用普通吹风机顺滑不少呢。负离子吹风机的原理十分简单,在十多年前就已经提出(CN1197501C中国发明专利授权公告),即头发一般带正电,当接触到带负电的氧和空气中的微小水份结合的负离子时,可以保持头发的水分,因此在吹风机中增加了一个负离子发生装置,在产生大量风的同时也提供尽量多的负离子,这样头发就可以保湿、不毛躁。那纳米水离子和普通的负离子吹风机相比又有哪些改进呢?

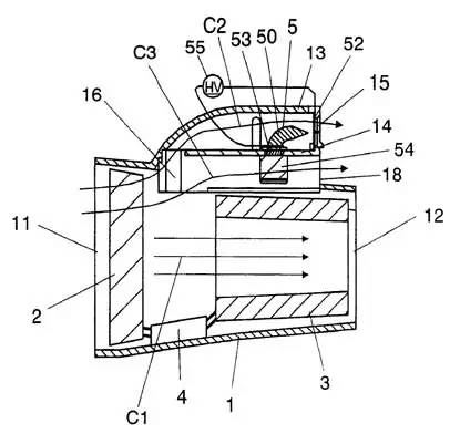
水离子吹风机的加热送风装置
对于松下公司的纳米水离子吹风机的结构,可以通过CN100488402C(中国发明专利授权公告)一探究竟(上图):原来秘诀在于设置了一个静电雾化器(5),并向外界排放纳米尺寸的离子雾汽。该静电雾化器(5)具有放电电极(50)和对置电极(52),再通过冷却将压缩空气冷却形成水雾,通过电极形成纳米离子雾汽。
这样的结构可以使雾汽排放方向稳定,保水量高,增加水分与头发中的纤维粘合,且为弱酸性,能够中和烫发和染发受损的碱性头发。根据其产品宣传:相较于负离子吹风机可以提供一千倍的水润。
而松下最新款的纳米水离子吹风机号称不但可以给头发、头皮补水,还可以养护脸部皮肤,吹完头发之后顺便吹吹脸,就可以补水保湿,再也不用担心吹头发的时候脸也被吹得干干的,想想都要在脸上涂上全套保养品才敢吹头发的自己,这款吹风机也是很实用呢。

到底是全新设计理念的戴森?还是注重补水保湿的松下?天秤座的小编有种要被逼死的感觉。
围观的帅哥们有考虑送小编一个的吗?
But,小编是不会收礼物的!像小编这种经常被种草的美少女最重要的还是要努力工作赚钱,然后豪气的对自己说“买买买!” 

来源:IPRdaily中文网(IPRdaily.cn)
作者:宿渊源  审协北京中心电学部  IP创新赢
          杨   超   审协北京中心外观部  IP创新赢
编辑:IPRdaily 赵珍 / 校对:IPRdaily 纵横君
推荐阅读

「关于IPRdaily」
IPRdaily成立于2014年,是全球影响力的知识产权媒体+产业服务平台,致力于连接全球知识产权人,用户汇聚了中国、美国、德国、俄罗斯、以色列、澳大利亚、新加坡、日本、韩国等15个国家和地区的高科技公司、成长型科技企业IP高管、研发人员、法务、政府机构、律所、事务所、科研院校等全球近50多万产业用户(国内25万+海外30万);同时拥有近百万条高质量的技术资源+专利资源,通过媒体构建全球知识产权资产信息第一入口。2016年获启赋资本领投和天使汇跟投的Pre-A轮融资。
(英文官网:iprdaily.com  中文官网:iprdaily.cn) 

本文来自IPRdaily.cn 中文网并经IPRdaily.cn中文网编辑。转载此文章须经权利人同意,并附上出处与作者信息。文章不代表IPRdaily.cn立场,如若转载,请注明出处:“http://www.iprdaily.cn/”

 共发表文章
						31245篇
共发表文章
						31245篇